日志样式

邢台网站建设500元全包(企业网站搭建)防晒销售排行,

2025年11月24日,信用广州官网公示了一则来源于广州市白云区市场监督管理局的行政处罚消息据报道,广州俪妍化妆品技术有限公司(以下简称“广州俪妍”)因涉嫌生产未经注册的特殊化妆品及标签虚假的化妆品化妆品生产被处以行政处罚,罚款金额高达9.65万元,并没收违法所得及非法财物约7024元。

值得注意的是,调查显示此次事件生产的6批次防晒类产品,均未检出注册配方中标示的防晒剂成分,被判定为不合格产品,这意味着相关防晒产品大概率不具备防晒功能,暴露出美妆代工产业链中依然存在的严重隐患,为行业质量安全敲响警钟。

01.防晒剂缺失背后生产失范已成“习惯”根据行政处罚决定书(穗云市监处罚〔2025〕1874号),广州俪妍的主要违法事实集中在两方面:一是生产未取得特殊化妆品注册证的防晒产品,二是生产标签虚假的化妆品2025年8月20日,广州市事件监督管理局收到上级交办线索,得知广州俪妍存在生产未经注册的特殊化妆品和标签虚假化妆品的违法行为,立即依法立案调查。

在八月至九月间,相关部门接连收到来自国家监督抽检、福建省食品药品质量检验研究院、青海省药品检验检测院等多地药检机构出具的检验报告检测结果均显示,其生产的6批次防晒产品未含有注册配方中标注的防晒成分,且实际成分与提供的注册批件不符。

此外,在现场检查的过程中,执法人员还发现其生产线正在生产其他标签内容不实的化妆品,涉及虚假标注成分或功效从法规层面看,该企业的行为直接违反了《化妆品监督管理条例》第三十五条关于化妆品标签应当真实、完整、准确的规定,以及第五十九条关于特殊化妆品需经注册后方可生产的要求。

依据条例第六十一条,监管部门对当事人处以没收违法所得0.702401万元、罚款9.65万元的行政处罚,并依法没收不合格的“LAENNA莱也纳美白隔离防晒乳SPF50+PA+++”46盒、“LAENNA莱也纳美白隔离防晒乳SPF50+PA+++”3盒、“LAENNA莱也纳美白隔离防晒乳SPF50+PA+++”5盒;没收标签虚假的“韩方五谷双抗紧致焕亮精华面膜+韩方五谷双抗紧致焕亮精华液”化妆品成品504盒、外包盒296个,膜片1230片。

需关注的是,处罚文书特别指出当事人曾因同类违法行为被查处,本次属“屡教不改”,但当事人积极配合行政机关调查,如实交代违法事实并主动提供证据材料,显现出相对“矛盾”的态度这种矛盾并非不懂法,而是其将监管处罚视为可讨价还价的“生意”,暴露了其对法律敬畏的缺失和对消费者安全责任的忽视。

这种行为模式显然不会是个例,相关监管机构除了个案中根据配合情况公正裁量外,更需建立长效机制,抬高“屡教不改”的违法成本,才能真正触及违规企业核心利益,消除其侥幸心理02.涉事品牌多次“踩坑”代工产品问题

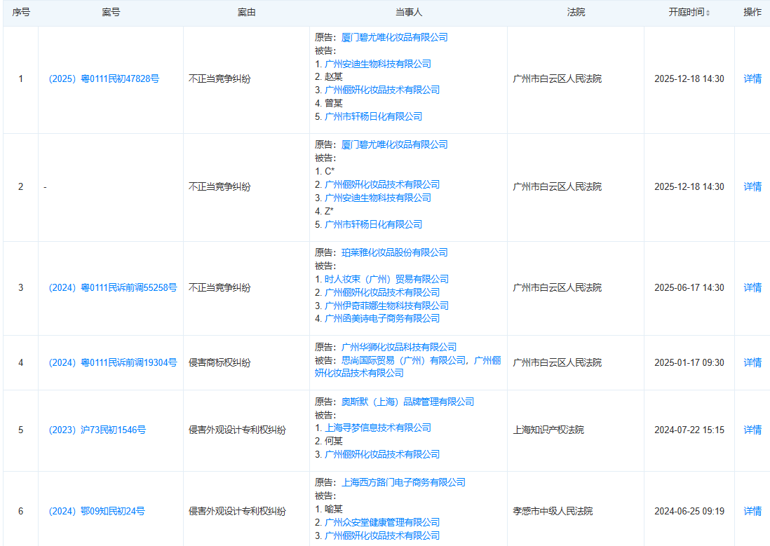
事后处罚难以根治乱象事实上,涉事企业广州俪妍并非首次陷入法律纠纷,天眼查显示,该公司近年来已涉及31起法律诉讼,其中2025年就因不正当竞争纠纷、侵害商标权等问题三次被告上法庭。

频繁的诉讼记录暴露出该企业在经营合规性和知识产权管理上的薄弱环节,也折射出其市场竞争手段的争议性而作为此次事件的“受害者”,涉案品牌“莱也纳”也并非首次因背后的代工链条产生产品质量问题2021年11月,莱也纳委托广州市蒙妮坦日化有限公司生产的“莱也纳小苏打牙膏”就因菌落总数超标被广东省药监局通报处罚;2023年3月,莱也纳“植物氨基酸牙膏”再次因菌落超标被列入抽检不合格名单;至2024年初,蒙妮坦日化因生产质量管理体系存在严重缺陷,被处以罚没款57.7万元,涉及产品中依然包括莱也纳小苏打牙膏。

直至2024年年末,蒙妮坦日化因承揽合同纠纷,将莱也纳母公司告上法庭,或结束了双方的合作生涯。

频频抽检不合格,但依然不离不弃保持合作,多次“踩坑”同一类问题,说明莱也纳品牌不仅未能建立有效的供应商审核与质量回溯机制,对代工厂的违法违规问题重视程度不足,在部分中小型代工厂在合规意识与技术能力上长期不足且不被在意的前提下,这种“品牌—代工”链条的松散管理,不仅损害品牌声誉,更直接危及消费者健康权益。

此次事件中的涉事企业及品牌均有“前科”,说明仅靠事后处罚难以根治乱象,需进一步推动行业自律、完善信用惩戒机制,只有生产者、品牌方、监管者形成合力,才能推动化妆品行业走向更透明、更安全的发展轨道返回搜狐,查看更多。